Fissaggio sicuro L'imballaggio con bulloni esagonali è progettato per mantenerli organizzati e prevenire danni. Queste scatole da imballaggio sono dotate di un rivestimento morbido dotato di fessure. I bulloni si inseriscono testa a testa, quindi ogni bullone esagonale rimane fermo. Ciò li rende rapidi da raccogliere e posizionare e previene eventuali graffi durante la spedizione. Per il trasporto alla rinfusa, i bulloni esagonali vengono spesso confezionati in confezioni da 500 pezzi. Queste borse vengono poi messe in scatole interne e casse di legno rinforzate per mantenere stabile il carico. Per le industrie critiche, le opzioni di imballaggio con specifiche elevate possono soddisfare rigorosi standard militari. Ciò può includere sacchetti sigillati, resistenti al grasso e impermeabili che proteggono i bulloni dalla corrosione durante lo stoccaggio e la spedizione.
Il grado su un bullone esagonale ne mostra la forza. Questi contrassegni di livello si trovano sulle teste dei bulloni per una facile identificazione. I gradi ISO comuni includono 4.6, 8.8, 10.9 e 12.9. Il grado 8.8 è un comune bullone di media resistenza, mentre 10.9 e 12.9 sono ad alta resistenza e utilizzati in aree impegnative come automobili e costruzioni. Anche gli standard ASTM come A307 e A325 definiscono le prestazioni dei bulloni. Scegliere il bullone esagonale con fissaggio sicuro del grado corretto è fondamentale per la sicurezza, poiché garantisce che il bullone possa sopportare il carico senza cedere.
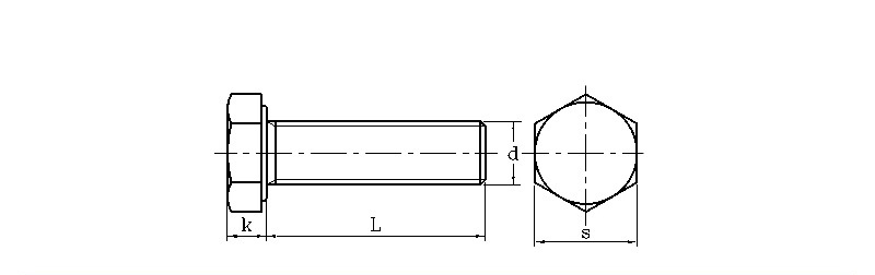
| mm | |||||||
| d | S | k | d | Filo | |||
| massimo | min | massimo | min | massimo | min | ||
| M3 | 5.32 | 5.5 | 1.87 | 2.12 | 2.87 | 2.98 | 0.5 |
| M4 | 6.78 | 7 | 2.67 | 2.92 | 3.83 | 3.98 | 0.7 |
| M5 | 7.78 | 8 | 3.35 | 3.65 | 4.82 | 4.97 | 0.8 |
| M6 | 9.78 | 10 | 3.85 | 4.14 | 5.79 | 5.97 | 1 |
| M8 | 12.73 | 13 | 5.15 | 5.45 | 7.76 | 7.97 | 1.25 |
| M10 | 15.73 | 16 | 6.22 | 6.58 | 9.73 | 9.96 | 1.5 |
| M12 | 17.73 | 18 | 7.32 | 7.68 | 11.7 | 11.96 | 1.75 |
| M14 | 20.67 | 21 | 8.62 | 8.98 | 13.68 | 13.96 | 2 |
| M16 | 23.67 | 24 | 9.82 | 10.18 | 15.68 | 15.96 | 2 |
| M18 | 26.67 | 27 | 11.28 | 11.7 | 17.62 | 17.95 | 2.5 |
| M20 | 29.67 | 30 | 12.28 | 12.71 | 19.62 | 19.95 | 2.5 |
Potete spiegare la composizione dei materiali e le opzioni di protezione dalla corrosione per i vostri bulloni esagonali con fissaggio sicuro?
Produciamo i nostri bulloni esagonali in diversi materiali come acciaio a basso tenore di carbonio, acciaio legato più resistente e acciaio inossidabile (A2-304 e A4-316). Per la protezione dalla ruggine, offriamo rivestimenti come zinco elettrozincato, zincatura a caldo e Dacromet. La scelta del rivestimento giusto è importante per la durata del bullone, soprattutto in luoghi difficili come i cantieri o vicino al mare.
