Casa > Prodotti > Bullone > Bullone a testa esagonale > Bullone esagonale per carichi pesanti
        Bullone esagonale per carichi pesanti
        • Bullone esagonale per carichi pesantiBullone esagonale per carichi pesanti
        • Bullone esagonale per carichi pesantiBullone esagonale per carichi pesanti

        Bullone esagonale per carichi pesanti

        I bulloni esagonali per carichi pesanti sono elementi di fissaggio ad alta resistenza realizzati in acciaio legato o acciaio inossidabile, dotati di resistenza alla trazione e tenacità. Sono adatti per scenari di connessione per carichi pesanti come l'edilizia e i macchinari. I bulloni esagonali per carichi pesanti prodotti nel nostro paese sono conformi agli standard internazionali come le specifiche ISO e ASTM.

        Invia richiesta

        Descrizione del prodotto

        Certificato di controllo qualità

        I bulloni esagonali per carichi pesanti sono spesso dotati di certificazioni di qualità basate su standard internazionali, che fungono da prova autorevole del rispetto dei requisiti. Documenti come ISO 4014 (per bulloni per uso generale con filettatura a passo grosso) o ISO 8765 (per bulloni con filettatura a passo fine) confermano che il bullone esagonale soddisfa rigorose specifiche dimensionali, meccaniche e dei materiali.

        Per usi aerospaziali critici, un bullone esagonale potrebbe essere certificato secondo standard come ISO 6397, che copre i bulloni di prova per applicazioni di coppia e tensione. Queste certificazioni garantiscono che il bullone esagonale sia realizzato secondo gradi (A e B) e classi di resistenza precisi. Ciò ne garantisce prestazioni, intercambiabilità e affidabilità in qualunque ambito venga utilizzato, dai macchinari generali alle industrie specializzate.

        Costi di spedizione del prodotto

        Il costo di spedizione per il bullone esagonale per carichi pesanti non è un prezzo fisso, ma dipende dal costo di consegna totale. Ciò include l'imballaggio, il trasporto e il carico. Si applicano anche costi aggiuntivi come il supplemento carburante. Le spese di trasporto finali si basano solitamente sul peso totale dell'ordine e sulla distanza di consegna. È importante tenere conto di queste spese di gestione e dei possibili supplementi per calcolare accuratamente le spese di trasporto complete per la spedizione di bulloni esagonali.

        Sessione di domande e risposte

        Offrite imballaggi ed etichette personalizzate per bulloni esagonali per carichi pesanti e quali sono i termini di pagamento?

        Sì, forniamo imballaggi completamente personalizzabili per i nostri bulloni. Le opzioni includono piccole scatole, cartoni principali o sacchi di tipo industriale: tutti possono avere il tuo marchio specifico, codici a barre e informazioni sul prodotto. Il nostro accordo standard prevede il pagamento anticipato del 30% da parte di TT e il restante 70% viene saldato prima della spedizione della merce. Per i partner di fiducia, siamo lieti di discutere anche altre opzioni di pagamento sicure come la vista LC.


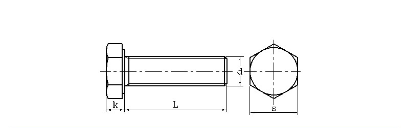
                                                                                                                                                                                   mm
        d S k d Filo
        massimo min massimo min massimo min
        M3 5.32 5.5 1.87 2.12 2.87 2.98 0.5
        M4 6.78 7 2.67 2.92 3.83 3.98 0.7
        M5 7.78 8 3.35 3.65 4.82 4.97 0.8
        M6 9.78 10 3.85 4.14 5.79 5.97 1
        M8 12.73 13 5.15 5.45 7.76 7.97 1.25
        M10 15.73 16 6.22 6.58 9.73 9.96 1.5
        M12 17.73 18 7.32 7.68 11.7 11.96 1.75
        M14 20.67 21 8.62 8.98 13.68 13.96 2
        M16 23.67 24 9.82 10.18 15.68 15.96 2
        M18 26.67 27 11.28 11.7 17.62 17.95 2.5
        M20 29.67 30 12.28 12.71 19.62 19.95 2.5



        Tag caldi: Bullone esagonale per carichi pesanti
        Categoria correlata
        Invia richiesta
        Non esitate a dare la vostra richiesta nel modulo sottostante. Ti risponderemo entro 24 ore.
        X
        Utilizziamo i cookie per offrirti una migliore esperienza di navigazione, analizzare il traffico del sito e personalizzare i contenuti. Utilizzando questo sito, accetti il ​​nostro utilizzo dei cookie. politica sulla riservatezza
        Rifiutare Accettare